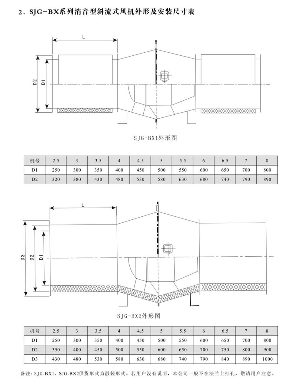
GXF、SJG系列斜流式风机
GXF、SJG系列斜流式通风机是国家级的“星火”项目产品,是一种新型低噪声高效节能型斜流式通风机,斜流式风机流量大于离心式风机,全压高于轴流式风机,体积小于离心式风机。该风机通过了模拟机的实验研究,采用新的叶型及叶片得到了更大的流量和压力,提高了风机的效率。
产品分类:
其他风机
关键词:
GXF、SJG系列斜流式风机
产品详情











在线咨询
产品分类:
其他风机
关键词:
GXF、SJG系列斜流式风机
产品详情











在线咨询